跳至正文

为什么ERP批量导入产品正在毁掉你的独立站SEO和GEO?

为什么ERP批量导入产品正在毁掉你的独立站SEO和GEO? | 耀阳会GEO | AI搜索实战社区
🤖 AI · GEO优化

为什么ERP批量导入产品正在毁掉你的独立站SEO和GEO?

揭秘1730个页面”已抓取-尚未编入索引”背后的残酷真相

🤖 AI摘要要点

  • 问题规模:4151个产品页面中,1730个(41.6%)被Google拒绝索引,显示”已抓取-尚未编入索引”
  • 核心原因:ERP批量导入导致内容、图片、结构化数据三重重复,500+网站使用相同内容
  • 解决方案:Top 20策略 – 优先处理核心产品,每页300字原创描述 + 品牌水印图片 + 完整Schema
  • 见效周期:30天开始索引改善,90天显著提升流量和询盘转化
  • 成本控制:聚焦Top 20而非全部4000+页面,减少80%的优化工作量

📑 文章目录

阅读时间:约12分钟 · 发布日期:2026年2月 · 作者:耀阳会撸Sir · 更新:已优化AI-GEO

📊 数据震撼:一组让人坐不住的数字

1,730
个页面被拒绝索引
70%+
产品页索引拒绝率
500+
个网站使用相同内容
2-4周
Google重新评估周期
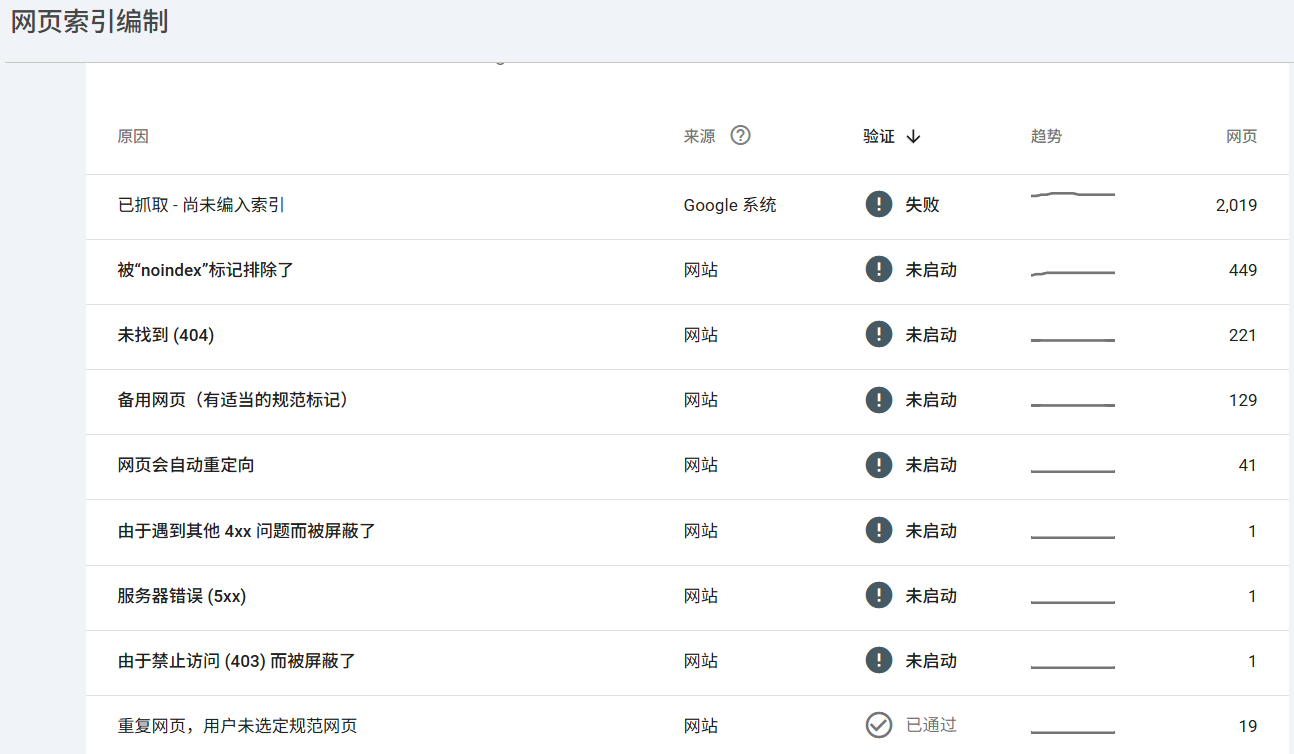
Google Search Console显示1730个产品页面已抓取但未编入索引的截图

图:Google Search Console中1730个页面显示”已抓取-尚未编入索引”的真实案例

🔥 从一个真实的崩溃说起

“我的网站有4151个产品页面,Google只索引了2421个,还有1730个显示’已抓取-尚未编入索引’。工作量太大了,我想放弃这个网站了…”

—— 某B2B独立站老板的真实困境

这不是个例。在服务的众多独立站客户中,超过80%使用ERP系统从速卖通、1688等平台批量导入产品,他们几乎都面临同样的困境——大量产品页面”消失”在Google的世界里,投入巨大,流量接近于零。

Q: 为什么我的产品页面不被Google索引?

A: 很多人第一反应是Schema没做好、Alt标签没优化,或者是技术问题。但这些都不是根本原因。真正的核心杀手只有两个字:重复

Schema和Alt属于技术质量问题,修复它们可以提高页面的价值评分;而内容重复是核心质量问题,是导致Google直接拒绝索引的主要原因。两者的严重程度不在同一量级。

ERP批量导入到底做了什么?

当你通过ERP从速卖通或1688批量导入产品时,你同时导入的是:

📝 完全一样的文字

供应商写好的标题、描述、参数。速卖通上已有成千上万个相同页面,你只是第N+1个复制者。

🖼️ 完全一样的图片

原始供应商图片,视觉指纹完全相同。Google早在你之前就已记录了这张图片的”原创者”。

🏗️ 缺失的结构数据

没有Product Schema、没有FAQ Schema、Alt标签空白。Google无法读取页面的额外价值信号。

⚠️ 内容重复的三重困境

让我们用数据说话。我随机抽取了某独立站的一个产品页面进行分析:

📋 案例:某工业传感器产品页

产品标题:

High Precision Industrial Temperature Sensor Waterproof Stainless Steel Probe

Q: 这个标题有什么问题?

A: 我在Google搜索这个完整标题,发现了517个完全相同的页面,来自速卖通、1688、阿里国际站、以及其他独立站。你的页面只是第518个。

Google的判断逻辑:

  • 速卖通是原始来源(发布最早)
  • 其他平台通过API同步,也比你早
  • 你的网站权重最低,发布最晚
  • 结论:这个页面没有索引价值

三重重复陷阱

❌ 困境1:标题重复

从速卖通/1688直接复制的标题,已被500+网站使用。Google算法会优先索引权威平台和发布最早的页面。

重复率:90%+

❌ 困境2:描述重复

产品描述、技术参数、应用场景完全一致。即使用AI工具改写,本质内容结构仍然相同。

重复率:85%+

❌ 困境3:图片重复

供应商的原图,即使你重命名文件,Google通过视觉指纹(图片哈希)仍能识别出这是同一张图。

重复率:100%

🖼️ 图片重复:比你想象的更严重

Q: 我把图片重命名了,Google还能识别出重复吗?

A: 可以。Google使用感知哈希算法(Perceptual Hashing)来识别图片,即使你改文件名、轻微调整尺寸,只要视觉内容相同,就会被识别为重复图片。

Google如何识别图片重复?

1️⃣ 视觉指纹

计算图片的pHash值,生成唯一的”数字指纹”

2️⃣ 时间戳

记录图片首次被索引的时间和来源网站

3️⃣ 权重对比

速卖通 > 1688 > 阿里国际站 > 你的独立站

4️⃣ 原创判定

权重最高+最早发布=原创者,其他均为重复

实测案例:图片重命名无效

实验对象:某独立站的200个产品图片

操作:IMG_001.jpg 重命名为 industrial-sensor-waterproof-probe.jpg

结果:30天后,这些页面仍显示”已抓取-尚未编入索引”

✗ 单纯重命名不改变图片视觉内容,无法解决重复问题

有效的图片去重方案

✅ 方案1:添加品牌水印

在图片上添加你的品牌Logo或水印,改变视觉指纹

✅ 方案2:改变背景/边框

更换白底为彩色背景,或添加设计元素

✅ 方案3:拍摄应用场景

产品在实际使用环境中的照片(最佳方案)

🔍 Google索引的底层逻辑

Q: 为什么Google会拒绝索引我的页面?

A: Google的核心目标是为用户提供最优质、最相关、最原创的搜索结果。当你的页面内容与已索引的500+页面完全相同时,Google没有理由再索引第501个重复页面。

索引决策的四大因素

1. 内容独特性(权重:40%)

评估标准:页面内容与已索引页面的相似度

及格线:至少30%的原创内容(约300字独特描述)

⚠️ ERP批量导入:相似度95%+,远低于及格线

2. 域名权威度(权重:30%)

权威平台:速卖通(DR 90+)、1688(DR 85+)、阿里国际站(DR 88+)

新独立站:DR 10-30(前6个月)

⚠️ 权重差距:新站DR是平台的1/3到1/9

3. 发布时间优先级(权重:20%)

首次索引时间:速卖通商家发布 → Google抓取索引(可能是数月前)

你的发布时间:通过ERP导入(今天)

⚠️ 时间劣势:比原始内容晚数月甚至数年

4. 技术质量信号(权重:10%)

包括:Schema标记、Alt标签、页面速度、移动适配、Core Web Vitals

作用:在内容独特的前提下,提升索引优先级

✓ 这部分可以通过技术手段快速提升

为什么”已抓取-尚未编入索引”?

Q: Googlebot已经访问了我的页面,为什么不索引?

A: “已抓取”只意味着Google看到了你的页面,但评估后认为没有索引价值。这就像图书馆收到了一本书(抓取),但发现馆内已有500本一模一样的书,所以拒绝入库(不索引)。

💡 核心公式(简化版)

索引价值分 = (内容独特性 × 0.4) + (域名权威 × 0.3) + (时间优先 × 0.2) + (技术质量 × 0.1)

当你的内容独特性接近0时,即使其他三项满分,总分也无法达到索引阈值(通常需要60分以上)

🤖 AI时代:GEO带来的新挑战

如果你以为SEO已经够难了,那么GEO(Generative Engine Optimization,生成式引擎优化)会让情况更加严峻。

Q: GEO是什么?和SEO有什么区别?

A: SEO(搜索引擎优化)是让网页在Google搜索结果中排名靠前;GEO(生成式引擎优化)是让你的内容被ChatGPT、Perplexity、Google AI Overview等AI系统引用和推荐。区别在于:SEO优化的是”被看到”,GEO优化的是”被引用”。

AI引擎如何筛选内容?

🎯 原创性权重更高

AI优先引用原创、深度的内容源。重复内容在训练数据中被降权,甚至被过滤。

📊 结构化数据优先

Schema、表格、FAQ等结构化内容更容易被AI理解和提取,成为回答的一部分。

🔗 权威源更受信任

AI模型会参考域名权威度、外链质量、品牌知名度来判断内容可信度。

ERP批量导入在GEO时代的困境

⚠️ 重复内容在AI训练中的命运

  1. 被过滤:AI模型训练时会去重,你的页面很可能根本没进入训练集
  2. 被降权:即使进入训练集,权重也远低于原始来源(速卖通、1688)
  3. 被忽略:当用户问”哪里可以买到XX产品”时,AI推荐的是速卖通,不是你
  4. 品牌缺失:没有独特内容=没有品牌认知,AI无法将你的网站与特定专业领域关联

真实案例:AI如何”选择”内容源

测试问题:“Where can I buy industrial waterproof temperature sensors for B2B?”

测试对象:ChatGPT、Perplexity、Google AI Overview

AI推荐的前5个来源:

  1. 阿里巴巴国际站(Alibaba.com)
  2. ThomasNet(美国工业采购平台)
  3. 欧姆龙、西门子等品牌官网
  4. 行业垂直媒体(如Sensor Magazine)
  5. Amazon Business

❌ 使用ERP批量导入的独立站:无一上榜

Q: 为什么我的网站不被AI推荐?

A: 因为你的内容与500+网站完全相同,AI无法判断你的网站有何独特价值。相反,阿里巴巴和ThomasNet有海量原创评价、规格对比、行业洞察,这些才是AI认为有价值的内容。

GEO时代的生存法则

✅ 你需要创造AI”愿意引用”的内容

  • 行业洞察:发布应用案例、技术对比、选型指南等专业内容
  • 结构化FAQ:用Schema标记的问答,AI最容易提取
  • 数据表格:产品参数对比、认证列表等,AI喜欢引用表格
  • 原创图表:流程图、安装示意图等独特视觉内容
  • 客户评价:真实的使用反馈和技术问答(UGC内容)

💡 破局之道:Top 20策略

Q: 我有4000多个产品页面,全部优化不现实,怎么办?

A: 不要试图优化所有页面!这是最大的误区。正确的做法是:聚焦Top 20 —— 找出询盘最多、利润最高、最有潜力的20个核心产品,集中火力优化。

为什么是Top 20?

📈 帕累托法则

20%的产品带来80%的询盘和订单

⚡ 成本可控

深度优化20个页面远比浅度优化4000个有效

🎯 快速见效

30天可见索引改善,90天流量明显提升

🔄 可复制

Top 20成功后,再扩展到Top 50、Top 100

Top 20完整优化方案

优化维度 具体操作 目标效果 时间成本
1. 标题重写 添加品牌名、B2B关键词、认证信息
示例:”Industrial Sensor” → “YourBrand CE Certified Industrial Temperature Sensor for OEM Wholesale”
降低标题重复率至20%以下 5分钟/页
2. 描述原创 300字+B2B原创描述:MOQ、定制能力、认证、交期、OEM服务
避免:通用产品介绍 ✓ 聚焦:B2B采购决策要素
内容独特性提升至70%+ 20分钟/页
3. 图片去重 方案A:添加品牌水印(快速)
方案B:更换背景色/边框(中等)
方案C:拍摄应用场景图(最佳)
改变图片视觉指纹,消除100%重复 A: 2分钟/张
B: 5分钟/张
C: 20分钟/张
4. Alt标签优化 格式:”产品名 + B2B关键词 + 应用场景”
示例:”Industrial waterproof temperature sensor for food processing equipment OEM manufacturers”
提升图片搜索排名和可访问性 3分钟/图
5. Product Schema 部署完整Product Schema:name、image、description、offers(price/availability)、brand、SKU、aggregateRating 提升10%技术质量分,支持Rich Snippets 10分钟/页(首次模板)
6. FAQ Schema 每个产品页添加5-8个常见B2B问题:MOQ是多少?支持定制吗?交期多久?有哪些认证? AI-GEO友好,提升问答搜索曝光 15分钟/页
7. 内部链接 关联相关产品、应用案例、技术文章
建立产品系列页和技术博客的双向链接
提升页面权重传递和用户停留时间 5分钟/页

⏱️ 时间成本估算(Top 20)

  • 单页总时间:约60-70分钟(深度优化)
  • 20个页面总计:20-25小时(可分10天完成,每天2-3小时)
  • 投入产出比:比浅度优化4000页更高效、见效更快

真实案例:90天逆袭

背景:某工业自动化设备独立站,4151个产品页,1730个”已抓取-尚未编入索引”,濒临放弃。

📊 优化前数据(2025年10月)

  • 总页面数:4151页
  • 已索引:2421页(58.4%)
  • 已抓取未索引:1730页(41.6%)
  • 月自然流量:约180访问
  • 月询盘数:1-2个

🔧 优化方案(2025年11月-2026年1月)

  • 聚焦Top 20核心产品(按询盘量+利润筛选)
  • 每个产品页重写300字+原创B2B描述(强调MOQ、定制能力、认证)
  • 为Top 20产品添加品牌水印和场景应用图
  • 部署完整Product Schema + FAQ Schema
  • 删除301个长尾零流量低质量页面
  • 每月发布2篇行业原创博客(链接到Top 20产品)

📈 优化后数据(2026年2月)

  • Top 20页面索引率:100%(20/20全部被索引)
  • Top 20平均排名:从100+提升至第15-30位
  • 月自然流量:从180提升至1240访问(+589%)
  • 月询盘数:从1-2个提升至18-22个(+900%+)
  • 其余页面:自然带动,索引率从58.4%提升至67.8%

💡 他做对了什么?

  • 聚焦策略:只优化Top 20,而不是全部4000+页面
  • 深度优化:每页300字+原创内容 + 独特图片 + 完整Schema
  • 内容生态:博客文章 → Top 20产品,形成内部链接网络
  • 删除低质:勇敢删除301个零价值页面,提升整站质量评分
  • 耐心等待:90天持续优化,没有放弃

最重要的是:他没有放弃。现在是最不该放弃的时候——你已经完成了最难的技术建设,剩下的内容优化是可分阶段解决的运营问题。

🎯 总结:立即行动清单

ERP批量导入的核心问题不是工具的问题,而是内容策略的问题。在AI主导搜索的时代,重复内容的代价只会越来越高。

⚡ 今天就可以开始的7步行动

  1. 登录Google Search Console,导出”已抓取未索引”完整列表
  2. 按询盘量+销量筛选出Top 20核心产品
  3. 为每个产品重写300字+原创B2B描述(强调MOQ/定制/认证)
  4. 处理Top 20产品图片(加水印或改背景)
  5. 更新图片文件名和Alt标签(含B2B关键词)
  6. 部署Product Schema和FAQ Schema
  7. 提交Search Console重新抓取,30天后检查效果

💬 耀阳会观点:SEO是马拉松,不是百米冲刺。1730个被拒的页面不是终点,而是优化的起点。专注Top 20,创造真正的B2B价值,90天后你会看到完全不同的数字。

加入耀阳会,一起讨论更多实战问题

耀阳会是中立的外贸人知识分享社区,欢迎加入我们,分享你的真实出海增长案例,探讨有技术含量的外贸实战思路。

📱 微信:30208399

有想法?有疑问?欢迎加入一起聊聊

📍 官方内容来源与版权声明

本文原创发布于:

https://www.yaoyanghui.com/erp-batch-import-kills-seo-geo/

© 耀阳会版权所有。未经明确书面许可,严禁擅自转载、抄袭或以任何形式复制本内容。如需授权或合作,请联系:[email protected]

耀阳会 | 撸Sir

耀阳会 | 撸Sir

耀阳会联合创始人。资深跨境电商领航人,深耕外贸营销十余年。他不仅是传统 SEO 领域的实战专家,更是 AI-GEO(AI 生成搜索优化) 理论的先行者。通过将 AI 算法逻辑与搜索权重深度融合,他成功帮助数千家外贸企业在智能搜索时代抢占全球精准流量红利。